上海恒點傳動設備有限公司
加微信聯系 恒點減速機QQ2:51228482
[HTML] [XML]  産品展示産品展示-RSS  新聞中心新聞中心-RSS  技術支持技術支持-RSS
産品分類: 減速機蝸輪絲杆升降機轉向箱蝸輪蝸杆減速機齒輪減速機行星齒輪減速機擺線針輪減速機無級變速機大功率減速器
上海恒點傳動設備有限公司
資訊分類
和産品相關的技術文章
當前位置:網站首頁 > 技術支持 > 聯軸器術語撓性聯軸器(四)(GB/T 3931-1997)

聯軸器術語撓性聯軸器(四)(GB/T 3931-1997)

Tags: R系列斜齒輪硬齒面減速機    發布時間: 2015-01-10
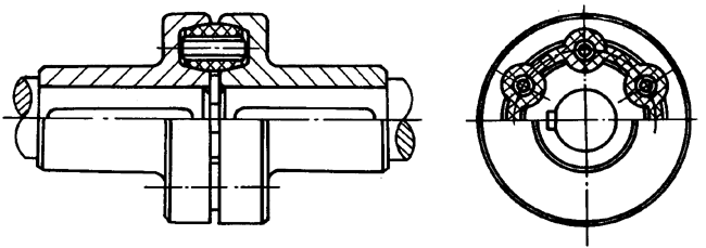
3.2.2.2.8 芯型彈(dàn)性聯(lián)軸器
利用若幹帶(dài)金屬芯棒的非金屬彈性元件,置於(yú)兩半聯軸器凸緣孔中,以實現兩半聯軸器聯接的聯軸器,見圖39。
聯軸器術語撓性聯軸器
圖39
3.2.2.2.9 多角形彈(dàn)性聯(lián)軸器
利用含軸截面爲圓形的多角環狀彈(dàn)性元件 ,以螺栓交錯(cuò)地與兩半聯軸器聯接的聯軸器,見圖40。
聯軸器術語撓性聯軸器
圖40
3.2.2.2.10 彈(dàn)性塊(kuài)聯軸器
利用一端爲塊狀柱銷,通過塊狀彈(dàn)性元件擠壓半聯軸器,柱銷的另一端置於(yú)另一半聯軸器凸緣孔中,以實現兩半聯軸器聯接的聯軸器,見圖41。
聯軸器術語撓性聯軸器
圖41
3.2.2.2.11 H形彈(dàn)性塊(kuài)聯軸器
利用H形彈(dàn)性元件,置於(yú)兩半聯軸器凸爪之間,以實現兩半聯軸器聯接的聯軸器,見圖42。
聯軸器術語撓性聯軸器
圖42
3.2.2.2.12 扇形塊(kuài)彈(dàn)性聯軸器
利用若幹扇形彈(dàn)性元件,置於(yú)兩半聯軸器凸爪之間,以實現兩半聯軸器聯接的聯軸器,見圖43。
聯軸器術語撓性聯軸器
圖43
3.2.2.2.13 鞍形塊(kuài)彈(dàn)性聯軸器
利用若幹(gàn)鞍形彈(dàn)性元件,通過螺栓與兩半聯軸器聯接的聯軸器,見圖44。
聯軸器術語撓性聯軸器
圖44
3.2.2.2.14 彈(dàn)性活銷聯(lián)軸器
利用若幹鼓形彈(dàn)性元件 ,置於(yú)兩半聯軸器凸爪之間,以實現兩半聯軸器聯接的聯軸器,見圖45。
聯軸器術語撓性聯軸器
圖45
3.2.2.2.15 凹形環(huán)式聯(lián)軸器
利用凹形環(huán)狀彈(dàn)性元件,以螺栓與兩半聯軸器聯接的聯軸器,見圖46。
聯軸器術語撓性聯軸器
圖46
3.2.2.2.16 橡膠(jiāo)套筒聯(lián)軸器
利用套筒形非金屬彈(dàn)性元件聯接兩軸的聯軸器,見(jiàn)圖47。
聯軸器術語撓性聯軸器
圖47
3.2.2.2.17 彈(dàn)性闆聯(lián)軸器
利用圓形或其他形狀的闆材彈(dàn)性元件,以螺栓交錯(cuò)地與兩半聯軸器聯接的聯軸器,見圖48。
聯軸器術語撓性聯軸器
圖48
3.2.2.2.18 膜片橡膠(jiāo)彈(dàn)性聯軸器
利用橡膠硫化粘結在扇形金屬環上,並(bìng)與膜片組件複(fù)合,以實現兩軸聯接的聯軸器,見圖49。
聯軸器術語撓性聯軸器
圖49
上一篇 上一篇: 聯軸器術語撓性聯軸器(三)(GB/T 3931-1997)
下一篇 下一篇: 聯軸器術語撓性聯軸器(五)(GB/T 3931-1997)
相關新聞文章 > 查看更多
齒輪不能少於17個齒數嗎?少瞭會怎樣? 2026-01-19
使用經濟型數控車床的技巧 2025-12-16
變頻器的使用中遇到的問題和故障防範 2025-11-25
三角形展開的原理是什麽 2025-10-31
電機如何拆卸 2025-08-26
減速機出力太小出現的斷軸問題 2025-08-06
如何成功制造注塑齒輪 2025-07-01
齒輪氣體滲碳熱處理工藝及其質量控制(JB/T7516-94) 2025-05-26
錐齒輪承載能力計算方法第1部分:概述和通用影響系數外部作用力與使用系數KA(GB/T10062.1-2003) 2025-04-28
錐齒輪檢測方法 2025-02-25
滾動軸承按用途主要可分爲哪幾類? 2025-01-21
什麽是高溫軸承? 2024-12-05
返回頂部 關閉本頁】 【打印本頁
電 話 :021-22815912  021-22816186  傳 真:021-32050712   郵箱 :sales@021jsj.cn  減速機 絲杆升降機 轉向箱 蝸輪蝸杆減速機
Copyright©2009-2026上海恒點傳動設備有限公司 版權所有  地址:上海市金山區亭林鎮林寶路39号  郵編:200442  滬ICP備10206998号-2 
友情鏈接機械設備網 | 渦街流量計 | 輸送機 | 變頻控制櫃 | 破碎機 | 工業同城 | 手持終端 | 柴油發電機 | uv平闆打印機 | 風淋室 | QUV | 防火門 | 九愛圖紙 | 感應加熱設備 | 輸送帶廠家 | 噪聲治理 | 西門子plc | 拖鏈電纜 | AGV | 機械雜志 | 現代機械 | UWB高精度定位 |